• 榴莲视频成人APP,榴莲视频在线观看网站视频下载观看,榴莲视频免费下载,榴莲视频官网入口

    產品中心

    product center

    榴莲视频免费下载無齒型-榴莲视频在线观看网站视频下载观看

    • 產品名稱: 榴莲视频免费下载無齒型-榴莲视频在线观看网站视频下载观看
    • 產品分類: 榴莲视频免费下载(11係列)
    • 聯係方式: 0535-8331991
    • 公司名稱: 招遠市榴莲视频成人APP機械製造有限公司
    • 公司地址:山東省招遠市開發區河東路999號
    • 添加時間: 19/08/21
    產品詳情


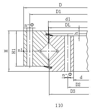
    榴莲视频免费下载回轉支承(11係列)——無齒式
    結構特點、性能、適用範圍 
    榴莲视频免费下载回轉支承,由兩個座圈組成,結構緊湊、重量輕、製造精度高,裝配間隙小,對安裝精度要求高,滾柱為1:1交叉排列,能同時承受軸向力,傾翻力矩和較大的徑向力,被廣泛地用於起重運輸、工程機械和軍工產品上。



    點擊次數:   更新時間:19/08/21 15:45:08  

    網站地圖 |  免責聲明

    城市分站: 主站   廣東   北京   天津   馬鞍山   山東   江蘇   徐州   成都   四川   
    網站地圖